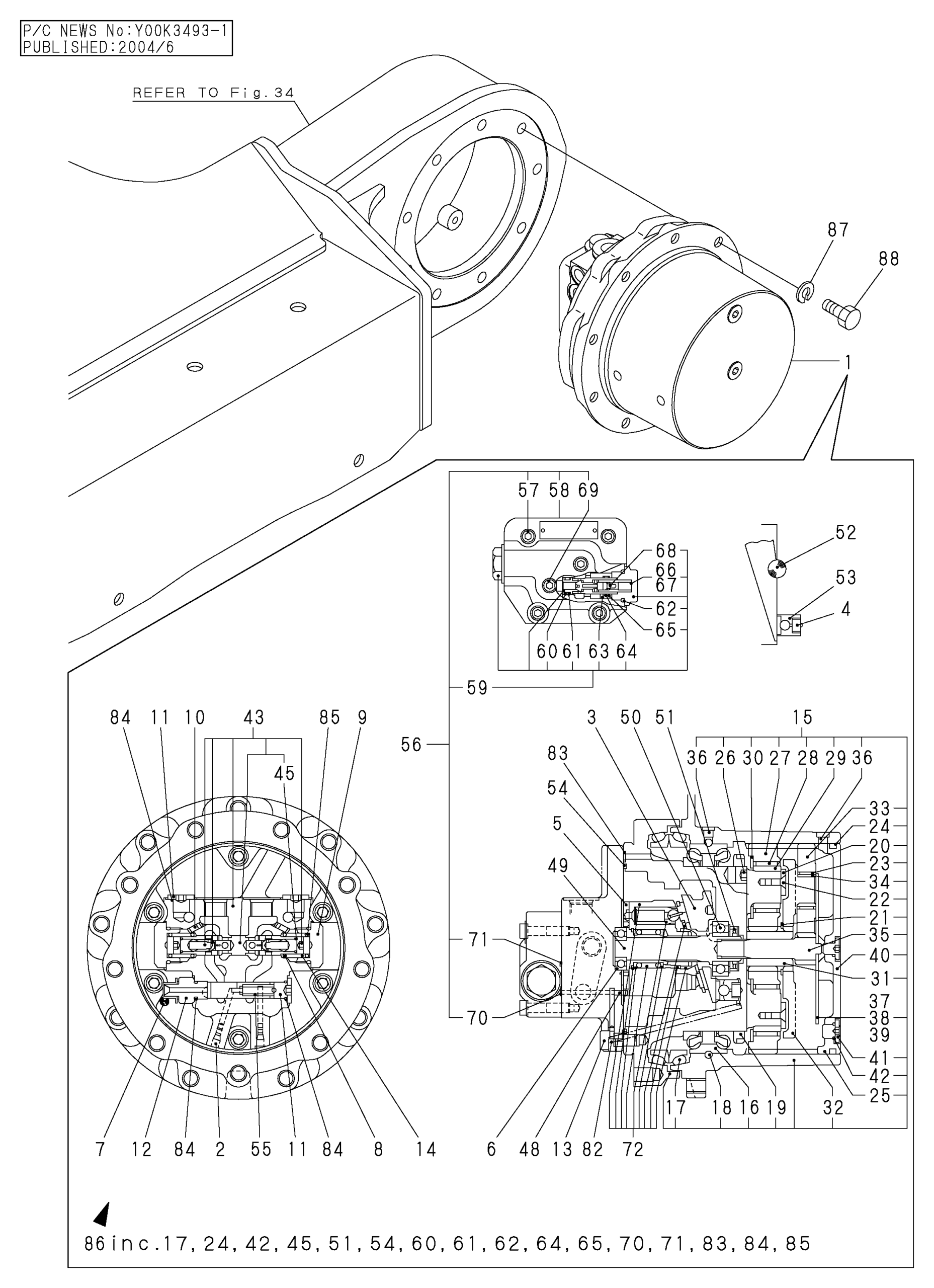
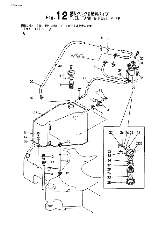
Description
This comprehensive parts manual contains detailed wiring diagrams for the Yanmar VIO50-1 Excavator. It provides essential information for identifying and ordering replacement parts, as well as understanding the electrical system. This manual is an invaluable resource for maintenance, troubleshooting, and repair procedures, ensuring optimal performance of your equipment.
















Reviews
There are no reviews yet.