Description
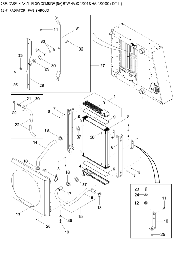
Comprehensive parts catalog for the Case IH 2388 Axial Flow Combine. This essential resource provides detailed diagrams and part numbers for efficient maintenance and repair. Ensure accurate part identification and ordering to minimize downtime. A valuable tool for owners and service technicians.









Reviews
There are no reviews yet.