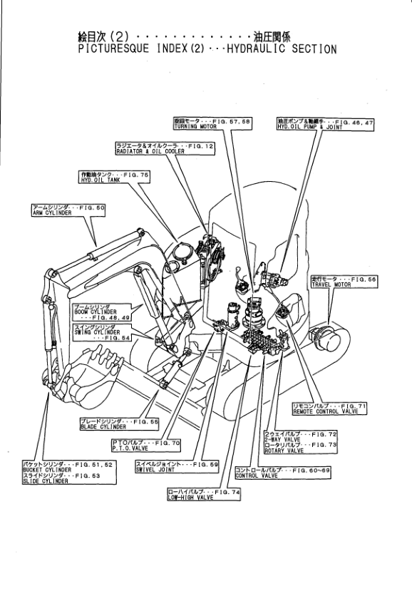
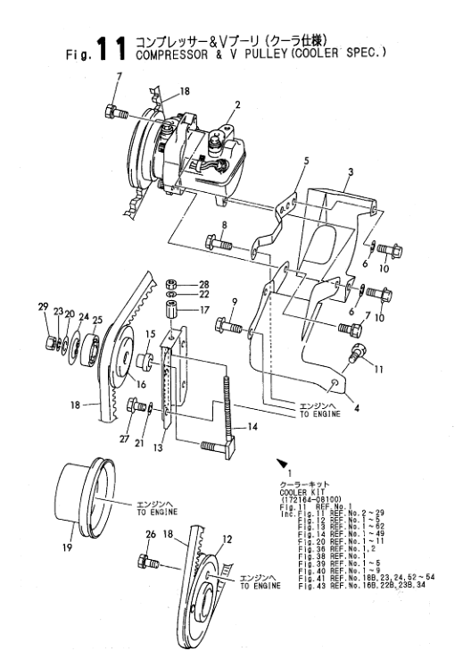
Description
Yanmar VIO40 Excavator Parts Manual Wiring Diagram. This comprehensive manual provides detailed exploded views and parts listings for the Yanmar VIO40 excavator, along with essential wiring diagrams. It serves as an invaluable resource for maintenance, repair, and parts identification, ensuring accurate and efficient servicing of your equipment. Yanmar VIO40 Excavator Parts Manual Wiring Diagram offers complete parts information and electrical schematics for the Yanmar VIO40 excavator model. This resource allows technicians and owners to easily identify and order replacement parts, as well as troubleshoot and repair electrical issues. It’s an essential guide for maintaining optimal performance and minimizing downtime.













Reviews
There are no reviews yet.