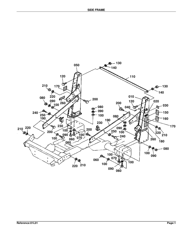
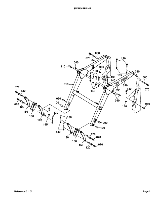
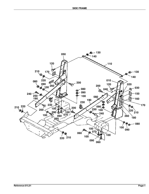
Kubota TL421 Front Loader Parts Catalog
15 $
Manual Type: Parts Catalog
Brand: Kubota
Number Pages: 31
Document size: 0.33 MB
Format: PDF
Language(s): English
15 $
Manual Type: Parts Catalog
Brand: Kubota
Number Pages: 31
Document size: 0.33 MB
Format: PDF
Language(s): English







Reviews
There are no reviews yet.