Description
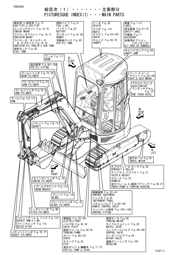
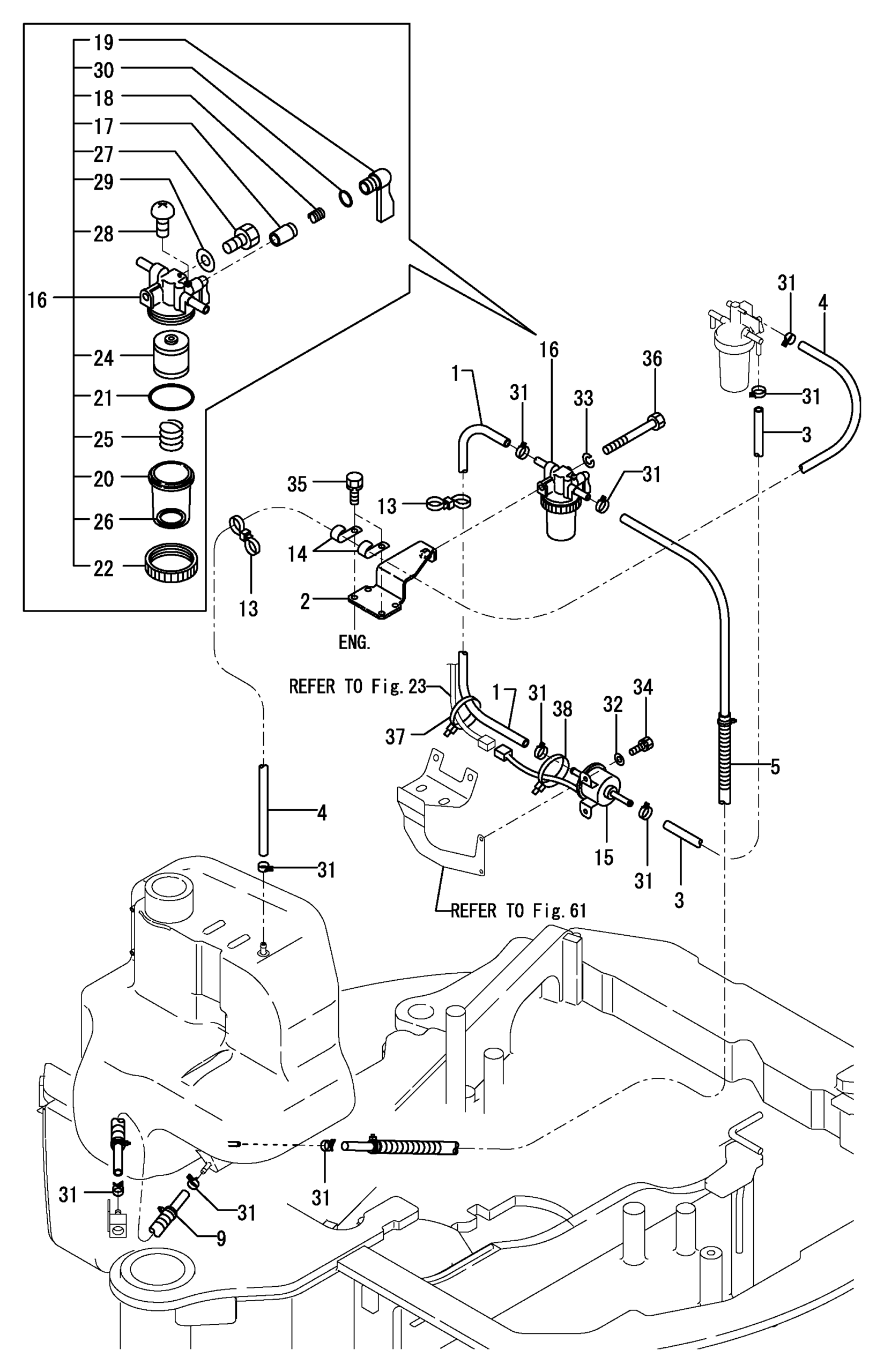
Yanmar VIO27-2 Excavator Parts Manual Wiring Diagram. This comprehensive manual provides detailed parts information and wiring diagrams for the Yanmar VIO27-2 excavator. It is an essential resource for maintenance, repair, and troubleshooting, ensuring accurate identification and replacement of components. Yanmar VIO27-2 Excavator Parts Manual Wiring Diagram. This manual offers a complete resource for understanding and maintaining your Yanmar VIO27-2 excavator. It includes detailed parts breakdowns and comprehensive wiring diagrams to assist with repairs and ensure optimal machine performance.
















Reviews
There are no reviews yet.