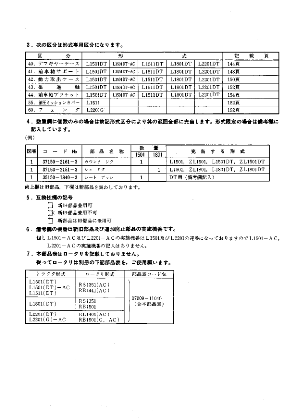
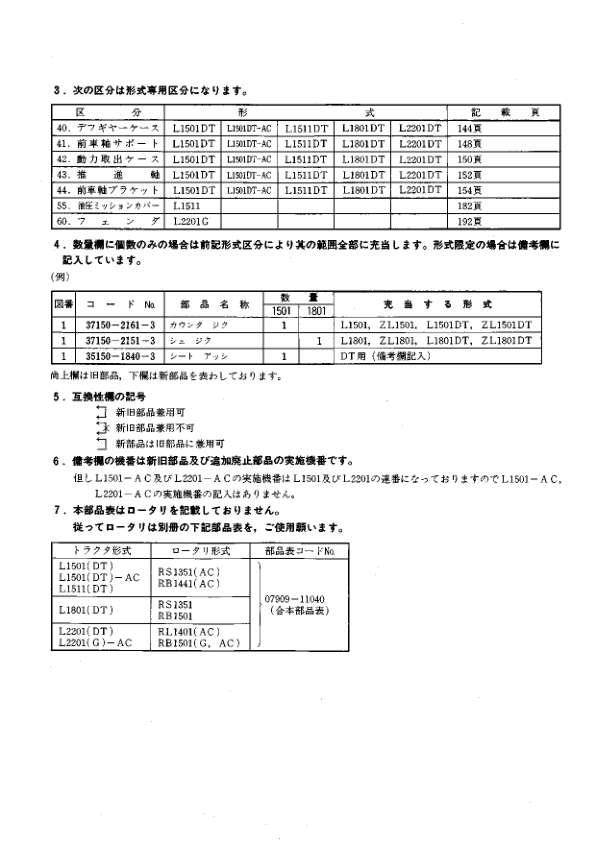
Kubota L1501 L2201 Tractor Parts Manual
15 $
Manual Type: Parts Manual
Brand: Kubota
Number Pages: 239
Document size: 5.05 MB
Format: PDF
Language(s): English
15 $
Manual Type: Parts Manual
Brand: Kubota
Number Pages: 239
Document size: 5.05 MB
Format: PDF
Language(s): English














Reviews
There are no reviews yet.